Toyota Corolla Cross Owners & Service Manuals

Toyota Corolla Cross: Target Adjustment(triangle Target)

TARGET ADJUSTMENT(TRIANGLE TARGET)

CAUTION / NOTICE / HINT

CAUTION:

Radiofrequency radiation exposure information:

  • This equipment complies with FCC radiation exposure limits set forth for an uncontrolled environment.
  • This equipment should be kept with minimum distance of 20 cm (7.87 in.) between the radiator (antenna) and your body at all times during adjustment.
  • This transmitter must not be co-located or operating in conjunction with any other antenna or transmitter.

PROCEDURE

1. PREPARATION FOR MILLIMETER WAVE RADAR SENSOR ASSEMBLY ADJUSTMENT

(a) Park the vehicle on a level surface where the area in front of the vehicle shown in the illustration is free of metal objects.

*a

5 m (16.4 ft.)

*b

6 m (19.7 ft.)

*c

4 m (13.1 ft.)

*d

2 m (6.56 ft.)

*e

3 m (9.84 ft.)

*f

1.5 m (4.92 ft.)

*g

2.5 m (8.2 ft.)

Do not place any metal objects in this area

Do not place metal objects with a height of more than 50 mm (1.97 in.) in this area

HINT:

Metal objects that have a height of 50 mm (1.97 in.) or less do not affect adjustment within 2 m (6.56 ft.) from the front of the vehicle.

(b) Check the levelness of the ground.

(1) Check the levelness of the ground at the 3 points shown in the illustration.

*a

3 m (9.84 ft.)

Levelness Check Point

(2) Place the level on each levelness check point and check that the air bubble of the level is centered.

(c) Adjust the tire inflation pressure to the specified pressure.

Click here

(d) Clean the radiator grille emblem or millimeter wave radar sensor assembly.

(e) Visually inspect the front of the vehicle.

HINT:

Confirm that there is no damage or deformation.

(f) Visually inspect the front bumper assembly, radiator grille and stays.

HINT:

Confirm that there is no damage or deformation.

(g) Check that the radiator grille and front bumper assembly are securely installed, and that there is no damage or deformation around the installation areas. If any abnormalities are found, repair or replace parts as necessary.

2. ADJUST MILLIMETER WAVE RADAR SENSOR ASSEMBLY HORIZONTALLY

HINT:

The vertical axis deviation can only be checked and cannot be adjusted.

(a) Adjust SST (reflector) height.

(1) Adjust SST (reflector) so that the center of SST (reflector) is the same height as the millimeter wave radar sensor.

NOTICE:

Set the reflector so that its center is the following distance above the ground.

  • except Sport Package:

    787 mm (2.58 ft.)

  • for Sport Package:

    806 mm (2.64 ft.)

SST: 09870-60000

09870-60010

SST: 09870-60040

*a

SST (reflector)

*b

  • except Sport Package:

    787 mm (2.58 ft.)

  • for Sport Package:

    806 mm (2.64 ft.)

(b) Place SST (reflector).

(1) Hang a weight with a pointed tip from the center of the rear emblem, and mark the rear center point of the vehicle (point A) on the ground.

*a

String

*b

Weight

*c

Center

*d

Bilateral Symmetry

HINT:

Lightly flick the string with your fingers several times to confirm that the string is perpendicular to the ground.

(2) Hang a weight with a pointed tip from the center of the front emblem, and mark the front center point of the vehicle (point B) on the ground.

*a

String

*b

Weight

*c

Center

*d

Bilateral Symmetry

HINT:

Lightly flick the string with your fingers several times to confirm that the string is perpendicular to the ground.

(3) When using a laser line marker:

NOTICE:

Do not look directly into the laser beam.

  1. Press the laser mode button on the laser line marker to activate the laser line emitters.
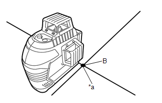
  2. Align the laser beam ground marking point (cross portion) with point B.

    *a

    Ground Marking Point (Cross Portion)

  3. Align the center of the target panel with point A, and set the target panel so that it faces forward.

    *a

    Center Line

    *b

    Target Panel

  4. Adjust the position of the laser line marker so that the laser beam is aligned with the center line of the target panel.
  5. Extend a tape measure at least 3000 mm (9.84 ft.) in length from point B, and set the tape measure in place.

    *a

    Tape Measure

  6. At a distance of 3000 mm (9.84 ft.) from point B, apply an approximately 200 mm (7.87 in.) piece of tape alongside the tape measure, and mark point C.

    *a

    Tape

(4) When not using a laser line marker:

  1. Using tape and a string, create a line that connects point B to point A and extends at least 3000 mm (9.84 ft.) beyond the front center point of the vehicle.

    *a

    String

    *b

    Tape

    *c

    3000 mm (9.84 ft.)

    -

    -

    HINT:

    • Make sure the string is taut when securing it with tape.
    • Lightly flick the string with your fingers several times to confirm that the string is aligned with point B.
  2. Mark point C (SST (reflector) placement position) at a position 3000 mm (9.84 ft.) from point B.

(5) Place SST (reflector) at point C.

(c) Perform Front Beam Axis Adjustment.

NOTICE:

  • Close all of the doors.
  • Ensure that nobody enters the adjustment area during the adjustment.
  • Do not move or shake the vehicle during adjustment (do not get in or out of the vehicle).
  • Do not turn off the GTS or ignition switch.
  • If the vehicle moves or is shaken during beam axis adjustment such as during strong winds or a door is opened or closed, perform the adjustment again.

(1) Connect the GTS to the DLC3.

(2) Turn the ignition switch to ON.

(3) Turn the GTS on.

(4) Enter the following menus: Body Electrical / Front Radar Sensor / Utility / Front Beam Axis Adjustment.

Body Electrical > Front Radar Sensor > Utility

Tester Display

Front Beam Axis Adjustment

(5) Confirm the conditions displayed on the screen and then press "Next".

(6) Select "Trigonal pyramid" and then press "Next".

(7) Perform the adjustment according to the display on the GTS.

NOTICE:

If an error code is displayed, perform troubleshooting according to the following table, then perform the adjustment again.

Error No.

Error Description

Cause of Error

Action to be Taken

1

No target abnormality

  • SST (reflector) is placed incorrectly.
  • The radiator grille emblem or millimeter wave radar sensor assembly is covered by dirt or snow.
  • The destination does not match.

Place SST (reflector) in the correct position. (See page 2. ADJUST MILLIMETER WAVE RADAR SENSOR ASSEMBLY HORIZONTALLY (b) Place SST (reflector))

Clean the radiator grille emblem or millimeter wave radar sensor assembly.

Check the installation condition of the front bumper assembly and radiator grille.

2

Target distance abnormality

  • SST (reflector) is placed incorrectly.

Place SST (reflector) in the correct position. (See page 2. ADJUST MILLIMETER WAVE RADAR SENSOR ASSEMBLY HORIZONTALLY (b) Place SST (reflector))

3

Plural targets abnormality

  • There is a reflective object near SST (reflector).
  • A person entered the adjustment area.

Remove any reflective objects.

Ensure that nobody enters the adjustment area during the adjustment. (See page 1. PREPARATION FOR MILLIMETER WAVE RADAR SENSOR ASSEMBLY ADJUSTMENT)

4

Target move abnormality

  • SST (reflector) was moved out of position or shaking during the adjustment due to wind.
  • A person entered the adjustment area.

Place SST (reflector) in the correct position. (See page 2. ADJUST MILLIMETER WAVE RADAR SENSOR ASSEMBLY HORIZONTALLY (b)Place SST (reflector))

Perform adjustment in an area with no wind.

Ensure that nobody enters the adjustment area during the adjustment. (See page 1. PREPARATION FOR MILLIMETER WAVE RADAR SENSOR ASSEMBLY ADJUSTMENT)

5

Axis adjustment

  • Optical axis adjustment has not been performed.

Optical axis adjustment. (See page 2. ADJUST MILLIMETER WAVE RADAR SENSOR ASSEMBLY HORIZONTALLY (c) Front Beam Axis Adjustment)

6

Target angle abnormality

  • SST (reflector) is placed incorrectly.
  • The beam axis of the millimeter wave radar sensor assembly is outside the automatic correction range.

Place SST (reflector) in the correct position. (See page 2. ADJUST MILLIMETER WAVE RADAR SENSOR ASSEMBLY HORIZONTALLY (b)Place SST (reflector))

Check the condition of the millimeter wave radar sensor assembly, radiator grille and front bumper assembly.

7

Radar abnormality

  • Operation of the millimeter wave radar sensor assembly is abnormal.

Replace the millimeter wave radar sensor assembly.

8

Radar dirtiness

  • There is dirt on the radiator grille emblem or millimeter wave radar sensor assembly.
  • Clean the radiator grille emblem or millimeter wave radar sensor assembly.
  • Check that there is no foreign matter between the millimeter wave radar sensor assembly and radiator grille emblem.

9

Temperature abnormality

  • The temperature around the millimeter wave radar sensor assembly is too high.

Wait until the temperature drops to the operable range (-30 to 50°C).

10

Voltage abnormality

  • IG power source voltage is outside the operable range of the millimeter wave radar sensor assembly.

Check the battery voltage (specified condition: 10 to 16 V).

  • for M20A-FKS:

    Click here

  • for M20A-FXS:

    Click here

11

External communication abnormality

  • CAN communication between forward recognition camera and the millimeter wave radar sensor assembly is abnormal.

Check the condition of the connectors and wire harness.

12

Radar axis aiming failure upward

  • The beam axis of the millimeter wave radar sensor assembly is deviated.

Check the condition of the millimeter wave radar sensor assembly, radiator grille and front bumper assembly.

  • Check the height of SST (reflector).
  • Check the placement of SST (reflector).

13

Radar axis aiming failure downward

  • The beam axis of the millimeter wave radar sensor assembly is deviated.

Check the condition of the millimeter wave radar sensor assembly, radiator grille and front bumper assembly.

  • Check the height of SST (reflector).
  • Check the placement of SST (reflector).

14

Vehicle speed abnormality

  • The vehicle is moving.

Ensure that the vehicle remains stationary.

16

Time out

  • The vehicle cannot communicate with GTS normally.
  • The vehicle does not keep still during beam axis adjustment.
  • Operation of the millimeter wave radar sensor assembly is abnormal.
  • Ensure that the vehicle is connected with the GTS correctly.
  • Ensure that the vehicle remains stationary.
  • Perform beam axis adjustment again and replace the millimeter wave radar sensor assembly if the same error code is output.

18

Vehicle information undefined

  • CAN communication between forward recognition camera and the millimeter wave radar sensor assembly is abnormal.

Check the connectors of the millimeter wave radar sensor assembly, forward recognition camera and the junction block are firmly connected.

(8) Press "Exit" to finish front beam axis adjustment.

(d) Perform Front Beam Axis Misalignment Reading.

NOTICE:

  • Close all of the doors.
  • Do not move or shake the vehicle during adjustment (do not get in or out of the vehicle).
  • Ensure that nobody enters the adjustment area during the adjustment.
  • Do not turn off the GTS or ignition switch.

(1) Enter the following menus: Body Electrical / Front Radar Sensor / Utility / Front Beam Axis Misalignment Reading.

Body Electrical > Front Radar Sensor > Utility

Tester Display

Front Beam Axis Misalignment Reading

(2) Confirm the conditions displayed on the screen and then press "Next".

(3) Select "Trigonal pyramid" and then press "Next".

(4) Perform the adjustment according to the display on the GTS.

Specified Condition:

Vertical

-0.6 to 0.6 deg.

Horizontal

-0.5 to 0.5 deg.

NOTICE:

If the result is not as specified, perform beam axis adjustment again.

(5) Turn the ignition switch off.

(6) Disconnect the GTS from the DLC3.

(e) After beam axis adjustment completes, clear the following system vehicle control history entries.

(1) Clear vehicle control history (Front Radar Sensor System).

Click here

(2) Clear vehicle control history (Front Camera System).

Click here

(3) Clear vehicle control history (Automatic High Beam System).

Click here

    READ NEXT:

     Target Adjustment(flat Surface Target)

    TARGET ADJUSTMENT(FLAT SURFACE TARGET) CAUTION / NOTICE / HINT CAUTION: Radiofrequency radiation exposure information: This equipment complies with FCC radiation exposure limits set forth f

     Utility

     Software Version Confirmation

    SOFTWARE VERSION CONFIRMATION PROCEDURE 1. NECESSITY OF SOFTWARE UPDATE CONFIRMATION NOTICE: If the GTS is connected and an operation such as a health check is performed when OTA reprogramming i

    SEE MORE:

     Sliding Roof Motor Control Actuator Stuck On (B23457E)

    DESCRIPTION This DTC will be stored if the operation of the sliding roof is suspended and a pulse input of 10 Hz or more is detected when the motor relay is off. DTC No. Detection Item DTC Detection Condition Trouble Area DTC Output from B23457E Sliding Roof Motor Control A

     Throttle / Pedal Position Sensor / Switch "A" Circuit Voltage Out of Range (P01201C)

    DESCRIPTION Refer to DTC P012011. Click here DTC No. Detection Item DTC Detection Condition Trouble Area MIL Note P01201C Throttle / Pedal Position Sensor / Switch "A" Circuit Voltage Out of Range The difference between the output voltage of VTA1 and VTA2 is

    © 2020-2026 Copyright www.tcorollacross.com PT NL