Toyota Corolla Cross Owners & Service Manuals

Toyota Corolla Cross: Throttle/Pedal Position Sensor "A" Minimum Stop Performance (P210900)

Toyota Corolla Cross (2022-2026) Service Manual / Engine & Hybrid System / M20a-fxs (engine Control) / Sfi System / Throttle/Pedal Position Sensor "A" Minimum Stop Performance (P210900)

DESCRIPTION

The idle speed is controlled by the Electronic Throttle Control System (ETCS). The ETCS is comprised of a throttle actuator, which operates the throttle valve, and a throttle position sensor, which detects the opening amount of the throttle valve. The ECM controls the throttle actuator to adjust the throttle valve opening amount so that the idle speed is maintained at the target idle speed.

DTC No.

Detection Item

DTC Detection Condition

Trouble Area

MIL

Note

P210900

Throttle/Pedal Position Sensor "A" Minimum Stop Performance

The Throttle Air Flow F/B Value* approaches its limit even though the actual intake air amount during idling is within the normal range (up to 1.5 times the normal amount) (1 trip detection logic).

*: Data List item

Throttle body with motor assembly

Does not come on

  • SAE Code: P2109
  • DTC for Mexico Models: Applies

HINT:

  • This malfunction is only detected once per trip. After it has been detected once, the system will not monitor for the malfunction for the rest of the trip.
  • The system uses the throttle body with motor assembly and mass air flow meter sub-assembly to detect this malfunction.

MONITOR DESCRIPTION

If there are deposits in the throttle valve, a decrease in the ISC flow rate may cause engine stall or unstable idling. Therefore, the necessary ISC flow rate for idling is maintained using the throttle air flow feedback. The ECM stores this DTC if the Throttle Air Flow F/B Value approaches its limit. The ECM begins monitoring for the DTC detection conditions when the following preconditions are met:

  1. The mass air flow meter sub-assembly is normal.
  2. Atmospheric pressure is 85 kPa(abs) [12.3 psi(abs)] or higher.
  3. The vehicle has been driven at a speed of 30 km/h (19 mph) or more at least once.
  4. The engine coolant temperature is 45°C (113°F) or less at engine start, the engine is warmed up and conditions for Throttle Air Flow F/B Value are met, or the ignition switch has been turned to ON (include engine running) for 1 hour or more, the engine is warmed up and conditions for Throttle Air Flow F/B Value are met.

CAUTION / NOTICE / HINT

NOTICE:

  • Vehicle Control History may be stored in the hybrid vehicle control ECU assembly if the engine is malfunctioning. Certain vehicle condition information is recorded when Vehicle Control History is stored. Reading the vehicle conditions recorded in both the freeze frame data and Vehicle Control History can be useful for troubleshooting.

    Click here

    (Select Powertrain in Health Check and then check the time stamp data.)

  • If any "Engine Malfunction" Vehicle Control History item has been stored in the hybrid vehicle control ECU assembly, make sure to clear it. However, as all Vehicle Control History items are cleared simultaneously, if any Vehicle Control History items other than "Engine Malfunction" are stored, make sure to perform any troubleshooting for them before clearing Vehicle Control History.

    Click here

HINT:

  • Since a pending DTC is not stored for this DTC, it takes time to confirm whether the malfunction has been successfully repaired by checking for this DTC. When confirming whether the malfunction has been successfully repaired, compare "ISC Learning Value" recorded in the Freeze Frame Data with "ISC Learning Value" in the Data List after repairs have been made to save time.
  • Read Freeze Frame Data using the GTS. The ECM records vehicle and driving condition information as Freeze Frame Data the moment a DTC is stored. When troubleshooting, Freeze Frame Data can help determine if the vehicle was moving or stationary, if the engine was warmed up or not, if the air fuel ratio was lean or rich, and other data from the time the malfunction occurred.

PROCEDURE

1.

CHECK ANY OTHER DTCS OUTPUT (IN ADDITION TO DTC P210900)

(a) Read the DTCs.

Powertrain > Engine > Trouble Codes

Result

Proceed to

DTC P210900 is output

A

DTC P210900 and other DTCs are output

B

HINT:

If any DTCs other than P210900 are output, troubleshoot those DTCs first.

B

GO TO DTC CHART

A

2.

READ FREEZE FRAME DATA (ISC LEARNING VALUE)

(a) Using the GTS, check "Throttle Air Flow F/B Value" in the Freeze Frame Data.

Click here

HINT:

Be sure to confirm that the Freeze Frame Data item "ISC Learning Value" is the same as that used when confirming whether the malfunction has been successfully repaired.

NEXT

3.

INSPECT THROTTLE BODY WITH MOTOR ASSEMBLY

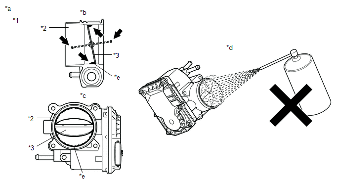
(a) Check for foreign matter between the throttle valve and the housing.

*1

Throttle Body with Motor Assembly

*2

Bore

*3

Throttle Valve

-

-

*a

Reference

*b

Throttle Body with Motor Assembly Cross-section Diagram

*c

When valve fully opened

*d

Deposits

HINT:

The illustration is for reference only, actual parts may differ.

Result

Proceed to

Foreign matter between the throttle valve and housing

A

No foreign matter between the throttle valve and housing

B

HINT:

Perform "Inspection After Repair" after replacing the throttle body with motor assembly.

Click here

B

REPLACE THROTTLE BODY WITH MOTOR ASSEMBLY

A

4.

REMOVE FOREIGN MATTER (CLEAN THROTTLE BODY WITH MOTOR ASSEMBLY)

(a) Clean off any deposits inside of the throttle body with motor assembly.

*1

Throttle Body with Motor Assembly

*2

Bore

*3

Throttle Valve

-

-

*a

Reference

*b

Throttle Body with Motor Assembly Cross-section Diagram

*c

When valve fully opened

*d

Do not directly apply cleaner

*e

Deposits

-

-

(1) Push open the throttle valve and wipe off any deposits from the valve and bore using a cloth soaked in non-residue solvent.

NOTICE:

  • Make sure that the cloth or your fingers do not get caught in the valve.
  • Make sure that foreign matter does not enter the throttle valve.
  • Do not directly apply non-residue solvent to the throttle body with motor assembly or wash the throttle body with motor assembly. Cleaning solvent may leak into the motor from the shaft and cause problems such as rust or valve movement problems.
  • If there is coating material on the edge of the throttle valve, be careful not to remove it.
  • Push the throttle valve open gently with your finger and check that the throttle valve moves smoothly.

HINT:

  • If the throttle valve does not open smoothly, replace the throttle body with motor assembly.

    Click here

  • The illustration is for reference only, actual parts may differ.
NEXT

5.

READ VALUE USING GTS (ISC LEARNING VALUE)

(a) Perform "Inspection After Repair" after cleaning the throttle body with motor assembly.

Click here

(b) Enter the following menus.

Powertrain > Engine > Data List

Tester Display

ISC Learning Value

(c) According to the display on the GTS, read the Data List.

OK:

The value of ISC Learning Value is half or less of ISC Learning Value recorded in the Freeze Frame Data.

HINT:

Perform "Inspection After Repair" after replacing the throttle body with motor assembly.

Click here

OK

END

NG

REPLACE THROTTLE BODY WITH MOTOR ASSEMBLY

    READ NEXT:

     Throttle Actuator "A" Control System Actuator Stuck Open (P211172,P211173)

    DESCRIPTION The throttle actuator is operated by the ECM and opens and closes the throttle valve using gears. The opening angle of the throttle valve is detected by the throttle position sensor, which

     Throttle Actuator "A" Control Throttle Body Range/Performance (P211900,P211904,P211977,P21199B)

    DESCRIPTION The electronic throttle control system is composed of the throttle actuator, throttle position sensor, and ECM. The ECM operates the throttle actuator to regulate the throttle valve in res

     Throttle/Pedal Position Sensor/Switch "A"/"B" Voltage Correlation Signal Cross Coupled (P21352B)

    DESCRIPTION Refer to DTC P012011. Click here DTC No. Detection Item DTC Detection Condition Trouble Area MIL Note P21352B Throttle/Pedal Position Sensor/Switch "A"/

    SEE MORE:

     Second Row Left Side Airbag Deployment Control Circuit Short to Battery (B003012)

    DESCRIPTION DTC No. Detection Item DTC Detection Condition Trouble Area Warning Indicate Test Mode / Check Mode B003012 Second Row Left Side Airbag Deployment Control Circuit Short to Battery One of the following conditions is met: The airbag ECU assemb

     A/C Inverter High Voltage Power Resource Circuit Voltage Out of Range (B14711C)

    DESCRIPTION The hybrid vehicle control ECU monitors the voltage of the HV battery. The hybrid vehicle control ECU stops compressor control and stores this DTC when the monitored voltage is outside the specified range. This DTC will be stored as a history DTC. Compressor control may not resume unle

    © 2020-2026 Copyright www.tcorollacross.com PT NL