Toyota Corolla Cross Owners & Service Manuals

Toyota Corolla Cross: Check Bus 6 Line

DESCRIPTION

Symptom

Trouble Area

There are ECUs or sensors that display a communication stop on the bus diagnostic screen. Or, there are ECUs or sensors that display communication stop history on the "Detail" screen.

  • CAN main bus line, CAN branch line or connector
  • Central gateway ECU (network gateway ECU)
  • 4WD ECU assembly

    (for AWD)

  • Tire pressure warning ECU and receiver
  • No. 22 global CAN junction connector

WIRING DIAGRAM

CAUTION / NOTICE / HINT

CAUTION:

When performing the confirmation driving pattern, obey all speed limits and traffic laws.

NOTICE:

  • Because the order of diagnosis is important to allow correct diagnosis, make sure to begin troubleshooting using How to Proceed with Troubleshooting when CAN communication system related DTCs are output.

    Click here

  • Before measuring the resistance of the CAN bus, turn the ignition switch off and leave the vehicle for 1 minute or more without operating the key or any switches, or opening or closing the doors. After that, disconnect the cable from the negative (-) auxiliary battery terminal and leave the vehicle for 1 minute or more before measuring the resistance.
  • After turning the ignition switch off, waiting time may be required before disconnecting the cable from the negative (-) auxiliary battery terminal.

    Click here

  • When disconnecting and reconnecting the auxiliary battery.

    HINT:

    When disconnecting and reconnecting the auxiliary battery, there is an automatic learning function that completes learning when the respective system is used.

    Click here

  • Some parts must be initialized and set when replacing or removing and installing parts.

    Click here

  • After performing repairs, perform the DTC check procedure and confirm that the DTCs are not output again.

    DTC check procedure: Turn the ignition switch to ON and wait for 1 minute or more. Then operate the suspected malfunctioning system and drive the vehicle at 60 km/h (37 mph) or more for 5 minutes or more.

  • After the repair, perform the CAN bus check and check that all the ECUs and sensors connected to the CAN communication system are displayed as normal.

    Click here

HINT:

  • Before disconnecting related connectors for inspection, push in on each connector body to check that the connector is not loose or disconnected.
  • When a connector is disconnected, check that the terminals and connector body are not cracked, deformed or corroded.

PROCEDURE

1.

CHECK FOR OPEN IN CAN MAIN BUS LINES

(a) Disconnect the cable from the negative (-) auxiliary battery terminal.

(b) Measure the resistance according to the value(s) in the table below.

Standard Resistance:

Tester Connection

Condition

Specified Condition

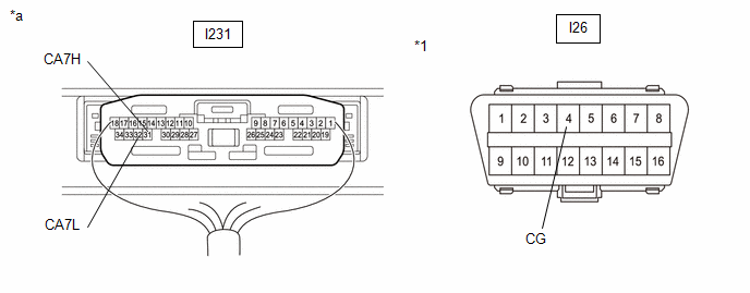
I231-31 (CA7H) - I231-32 (CA7L)

Cable disconnected from negative (-) auxiliary battery terminal

Below 70 Ω

*a

Component with harness connected

(Central Gateway ECU (Network Gateway ECU))

NG

GO TO STEP 32

OK

2.

CHECK FOR SHORT IN CAN BUS LINES

(a) Measure the resistance according to the value(s) in the table below.

Standard Resistance:

Tester Connection

Condition

Specified Condition

I231-31 (CA7H) - I231-32 (CA7L)

Cable disconnected from negative (-) auxiliary battery terminal

54 Ω or higher

*a

Component with harness connected

(Central Gateway ECU (Network Gateway ECU))

NG

GO TO STEP 23

OK

3.

CHECK FOR SHORT TO +B IN CAN BUS LINE

(a) Measure the resistance according to the value(s) in the table below.

*1

DLC3

-

-

*a

Component with harness connected

(Central Gateway ECU (Network Gateway ECU))

-

-

Standard Resistance:

Tester Connection

Condition

Specified Condition

I231-31 (CA7H) - I26-16 (BAT)

Cable disconnected from negative (-) auxiliary battery terminal

6 kΩ or higher

I231-32 (CA7L) - I26-16 (BAT)

NG

GO TO STEP 14

OK

4.

CHECK FOR SHORT TO GND IN CAN BUS LINE

(a) Measure the resistance according to the value(s) in the table below.

*1

DLC3

-

-

*a

Component with harness connected

(Central Gateway ECU (Network Gateway ECU))

-

-

Standard Resistance:

Tester Connection

Condition

Specified Condition

I231-31 (CA7H) - I26-4 (CG)

Cable disconnected from negative (-) auxiliary battery terminal

200 Ω or higher

I231-32 (CA7L) - I26-4 (CG)

OK

REPLACE CENTRAL GATEWAY ECU (NETWORK GATEWAY ECU)

NG

5.

CHECK FOR SHORT TO GND IN CAN BUS LINE (NO. 22 GLOBAL CAN JUNCTION CONNECTOR - CENTRAL GATEWAY ECU (NETWORK GATEWAY ECU))

(a) Disconnect the No. 22 global CAN junction connector.

(b) Measure the resistance according to the value(s) in the table below.

*1

DLC3

-

-

*a

Front view of wire harness connector

(to No. 22 Global CAN Junction Connector)

*b

to Central Gateway ECU (Network Gateway ECU)

Standard Resistance:

Tester Connection

Condition

Specified Condition

O227-8 (CANH) - I26-4 (CG)

Cable disconnected from negative (-) auxiliary battery terminal

200 Ω or higher

O227-19 (CANL) - I26-4 (CG)

NG

GO TO STEP 13

OK

6.

CHECK FOR SHORT TO GND IN CAN BUS LINE (NO. 22 GLOBAL CAN JUNCTION CONNECTOR - CENTRAL GATEWAY ECU (NETWORK GATEWAY ECU))

(a) Measure the resistance according to the value(s) in the table below.

*1

DLC3

-

-

*a

Front view of wire harness connector

(to No. 22 Global CAN Junction Connector)

*b

to Central Gateway ECU (Network Gateway ECU)

Standard Resistance:

Tester Connection

Condition

Specified Condition

O227-9 (CANH) - I26-4 (CG)

Cable disconnected from negative (-) auxiliary battery terminal

200 Ω or higher

O227-20 (CANL) - I26-4 (CG)

NG

GO TO STEP 12

OK

7.

CHECK VEHICLE TYPE

(a) Check vehicle type.

Result

Proceed to

for AWD

A

for 2WD

B

B

GO TO STEP 9

A

8.

CHECK FOR SHORT TO GND IN CAN BUS LINE (NO. 22 GLOBAL CAN JUNCTION CONNECTOR - 4WD ECU ASSEMBLY)

(a) Measure the resistance according to the value(s) in the table below.

*1

DLC3

-

-

*a

Front view of wire harness connector

(to No. 22 Global CAN Junction Connector)

*b

to 4WD ECU Assembly

Standard Resistance:

Tester Connection

Condition

Specified Condition

O227-7 (CANH) - I26-4 (CG)

Cable disconnected from negative (-) auxiliary battery terminal

200 Ω or higher

O227-18 (CANL) - I26-4 (CG)

NG

GO TO STEP 10

OK

9.

CHECK FOR SHORT TO GND IN CAN BUS LINE (NO. 22 GLOBAL CAN JUNCTION CONNECTOR - TIRE PRESSURE WARNING ECU AND RECEIVER)

(a) Measure the resistance according to the value(s) in the table below.

*1

DLC3

-

-

*a

Front view of wire harness connector

(to No. 22 Global CAN Junction Connector)

*b

to Tire Pressure Warning ECU and Receiver

Standard Resistance:

Tester Connection

Condition

Specified Condition

O227-10 (CANH) - I26-4 (CG)

Cable disconnected from negative (-) auxiliary battery terminal

200 Ω or higher

O227-21 (CANL) - I26-4 (CG)

OK

REPLACE NO. 22 GLOBAL CAN JUNCTION CONNECTOR

NG

GO TO STEP 11

10.

CHECK FOR SHORT TO GND IN CAN BUS LINE (NO. 22 GLOBAL CAN JUNCTION CONNECTOR - 4WD ECU ASSEMBLY)

(a) Disconnect the O201 4WD ECU assembly connector.

(b) Measure the resistance according to the value(s) in the table below.

*1

DLC3

-

-

*a

Front view of wire harness connector

(to No. 22 Global CAN Junction Connector)

*b

to 4WD ECU Assembly

Standard Resistance:

Tester Connection

Condition

Specified Condition

O227-7 (CANH) - I26-4 (CG)

Cable disconnected from negative (-) auxiliary battery terminal

200 Ω or higher

O227-18 (CANL) - I26-4 (CG)

OK

REPLACE 4WD ECU ASSEMBLY

NG

REPAIR OR REPLACE CAN BRANCH LINE OR CONNECTOR (NO. 22 GLOBAL CAN JUNCTION CONNECTOR - 4WD ECU ASSEMBLY)

11.

CHECK FOR SHORT TO GND IN CAN BUS LINE (NO. 22 GLOBAL CAN JUNCTION CONNECTOR - TIRE PRESSURE WARNING ECU AND RECEIVER)

(a) Disconnect the O209*1, O221*2 tire pressure warning ECU and receiver connector.

  • *1: w/ Smart Key System
  • *2: w/o Smart Key System

(b) Measure the resistance according to the value(s) in the table below.

*1

DLC3

-

-

*a

Front view of wire harness connector

(to No. 22 Global CAN Junction Connector)

*b

to Tire Pressure Warning ECU and Receiver

Standard Resistance:

Tester Connection

Condition

Specified Condition

O227-10 (CANH) - I26-4 (CG)

Cable disconnected from negative (-) auxiliary battery terminal

200 Ω or higher

O227-21 (CANL) - I26-4 (CG)

OK

REPLACE TIRE PRESSURE WARNING ECU AND RECEIVER

NG

REPAIR OR REPLACE CAN BRANCH LINE OR CONNECTOR (NO. 22 GLOBAL CAN JUNCTION CONNECTOR - TIRE PRESSURE WARNING ECU AND RECEIVER)

12.

CHECK FOR SHORT TO GND IN CAN BUS LINE (NO. 22 GLOBAL CAN JUNCTION CONNECTOR - CENTRAL GATEWAY ECU (NETWORK GATEWAY ECU))

(a) Disconnect the I231 central gateway ECU (network gateway ECU) connector.

(b) Measure the resistance according to the value(s) in the table below.

*1

DLC3

-

-

*a

Front view of wire harness connector

(to No. 22 Global CAN Junction Connector)

*b

to Central Gateway ECU (Network Gateway ECU)

Standard Resistance:

Tester Connection

Condition

Specified Condition

O227-9 (CANH) - I26-4 (CG)

Cable disconnected from negative (-) auxiliary battery terminal

200 Ω or higher

O227-20 (CANL) - I26-4 (CG)

OK

REPLACE CENTRAL GATEWAY ECU (NETWORK GATEWAY ECU)

NG

REPAIR OR REPLACE CAN MAIN BUS LINE OR CONNECTOR (NO. 22 GLOBAL CAN JUNCTION CONNECTOR - CENTRAL GATEWAY ECU (NETWORK GATEWAY ECU))

13.

CHECK FOR SHORT TO GND IN CAN BUS LINE (NO. 22 GLOBAL CAN JUNCTION CONNECTOR - CENTRAL GATEWAY ECU (NETWORK GATEWAY ECU))

(a) Disconnect the I231 central gateway ECU (network gateway ECU) connector.

(b) Measure the resistance according to the value(s) in the table below.

*1

DLC3

-

-

*a

Front view of wire harness connector

(to No. 22 Global CAN Junction Connector)

*b

to Central Gateway ECU (Network Gateway ECU)

Standard Resistance:

Tester Connection

Condition

Specified Condition

O227-8 (CANH) - I26-4 (CG)

Cable disconnected from negative (-) auxiliary battery terminal

200 Ω or higher

O227-19 (CANL) - I26-4 (CG)

OK

REPLACE CENTRAL GATEWAY ECU (NETWORK GATEWAY ECU)

NG

REPAIR OR REPLACE CAN MAIN BUS LINE OR CONNECTOR (NO. 22 GLOBAL CAN JUNCTION CONNECTOR - CENTRAL GATEWAY ECU (NETWORK GATEWAY ECU))

14.

CHECK FOR SHORT TO +B IN CAN BUS LINE (NO. 22 GLOBAL CAN JUNCTION CONNECTOR - CENTRAL GATEWAY ECU (NETWORK GATEWAY ECU))

(a) Disconnect the No. 22 global CAN junction connector.

(b) Measure the resistance according to the value(s) in the table below.

*1

DLC3

-

-

*a

Front view of wire harness connector

(to No. 22 Global CAN Junction Connector)

*b

to Central Gateway ECU (Network Gateway ECU)

Standard Resistance:

Tester Connection

Condition

Specified Condition

O227-8 (CANH) - I26-16 (BAT)

Cable disconnected from negative (-) auxiliary battery terminal

6 kΩ or higher

O227-19 (CANL) - I26-16 (BAT)

NG

GO TO STEP 22

OK

15.

CHECK FOR SHORT TO +B IN CAN BUS LINE (NO. 22 GLOBAL CAN JUNCTION CONNECTOR - CENTRAL GATEWAY ECU (NETWORK GATEWAY ECU))

(a) Measure the resistance according to the value(s) in the table below.

*1

DLC3

-

-

*a

Front view of wire harness connector

(to No. 22 Global CAN Junction Connector)

*b

to Central Gateway ECU (Network Gateway ECU)

Standard Resistance:

Tester Connection

Condition

Specified Condition

O227-9 (CANH) - I26-16 (BAT)

Cable disconnected from negative (-) auxiliary battery terminal

6 kΩ or higher

O227-20 (CANL) - I26-16 (BAT)

NG

GO TO STEP 21

OK

16.

CHECK VEHICLE TYPE

(a) Check vehicle type.

Result

Proceed to

for AWD

A

for 2WD

B

B

GO TO STEP 18

A

17.

CHECK FOR SHORT TO +B IN CAN BUS LINE (NO. 22 GLOBAL CAN JUNCTION CONNECTOR - 4WD ECU ASSEMBLY)

(a) Measure the resistance according to the value(s) in the table below.

*1

DLC3

-

-

*a

Front view of wire harness connector

(to No. 22 Global CAN Junction Connector)

*b

to 4WD ECU Assembly

Standard Resistance:

Tester Connection

Condition

Specified Condition

O227-7 (CANH) - I26-16 (BAT)

Cable disconnected from negative (-) auxiliary battery terminal

6 kΩ or higher

O227-18 (CANL) - I26-16 (BAT)

NG

GO TO STEP 19

OK

18.

CHECK FOR SHORT TO +B IN CAN BUS LINE (NO. 22 GLOBAL CAN JUNCTION CONNECTOR - TIRE PRESSURE WARNING ECU AND RECEIVER)

(a) Measure the resistance according to the value(s) in the table below.

*1

DLC3

-

-

*a

Front view of wire harness connector

(to No. 22 Global CAN Junction Connector)

*b

to Tire Pressure Warning ECU and Receiver

Standard Resistance:

Tester Connection

Condition

Specified Condition

O227-10 (CANH) - I26-16 (BAT)

Cable disconnected from negative (-) auxiliary battery terminal

6 kΩ or higher

O227-21 (CANL) - I26-16 (BAT)

OK

REPLACE NO. 22 GLOBAL CAN JUNCTION CONNECTOR

NG

GO TO STEP 20

19.

CHECK FOR SHORT TO +B IN CAN BUS LINE (NO. 22 GLOBAL CAN JUNCTION CONNECTOR - 4WD ECU ASSEMBLY)

(a) Disconnect the O201 4WD ECU assembly connector.

(b) Measure the resistance according to the value(s) in the table below.

*1

DLC3

-

-

*a

Front view of wire harness connector

(to No. 22 Global CAN Junction Connector)

*b

to 4WD ECU Assembly

Standard Resistance:

Tester Connection

Condition

Specified Condition

O227-7 (CANH) - I26-16 (BAT)

Cable disconnected from negative (-) auxiliary battery terminal

6 kΩ or higher

O227-18 (CANL) - I26-16 (BAT)

OK

REPLACE 4WD ECU ASSEMBLY

NG

REPAIR OR REPLACE CAN BRANCH LINE OR CONNECTOR (NO. 22 GLOBAL CAN JUNCTION CONNECTOR - 4WD ECU ASSEMBLY)

20.

CHECK FOR SHORT TO +B IN CAN BUS LINE (NO. 22 GLOBAL CAN JUNCTION CONNECTOR - TIRE PRESSURE WARNING ECU AND RECEIVER)

(a) Disconnect the O209*1, O221*2 tire pressure warning ECU and receiver connector.

  • *1: w/ Smart Key System
  • *2: w/o Smart Key System

(b) Measure the resistance according to the value(s) in the table below.

*1

DLC3

-

-

*a

Front view of wire harness connector

(to No. 22 Global CAN Junction Connector)

*b

to Tire Pressure Warning ECU and Receiver

Standard Resistance:

Tester Connection

Condition

Specified Condition

O227-10 (CANH) - I26-16 (BAT)

Cable disconnected from negative (-) auxiliary battery terminal

6 kΩ or higher

O227-21 (CANL) - I26-16 (BAT)

OK

REPLACE TIRE PRESSURE WARNING ECU AND RECEIVER

NG

REPAIR OR REPLACE CAN BRANCH LINE OR CONNECTOR (NO. 22 GLOBAL CAN JUNCTION CONNECTOR - TIRE PRESSURE WARNING ECU AND RECEIVER)

21.

CHECK FOR SHORT TO +B IN CAN BUS LINE (NO. 22 GLOBAL CAN JUNCTION CONNECTOR - CENTRAL GATEWAY ECU (NETWORK GATEWAY ECU))

(a) Disconnect the I231 central gateway ECU (network gateway ECU) connector.

(b) Measure the resistance according to the value(s) in the table below.

*1

DLC3

-

-

*a

Front view of wire harness connector

(to No. 22 Global CAN Junction Connector)

*b

to Central Gateway ECU (Network Gateway ECU)

Standard Resistance:

Tester Connection

Condition

Specified Condition

O227-9 (CANH) - I26-16 (BAT)

Cable disconnected from negative (-) auxiliary battery terminal

6 kΩ or higher

O227-20 (CANL) - I26-16 (BAT)

OK

REPLACE CENTRAL GATEWAY ECU (NETWORK GATEWAY ECU)

NG

REPAIR OR REPLACE CAN MAIN BUS LINE OR CONNECTOR (NO. 22 GLOBAL CAN JUNCTION CONNECTOR - CENTRAL GATEWAY ECU (NETWORK GATEWAY ECU))

22.

CHECK FOR SHORT TO +B IN CAN BUS LINE (NO. 22 GLOBAL CAN JUNCTION CONNECTOR - CENTRAL GATEWAY ECU (NETWORK GATEWAY ECU))

(a) Disconnect the I231 central gateway ECU (network gateway ECU) connector.

(b) Measure the resistance according to the value(s) in the table below.

*1

DLC3

-

-

*a

Front view of wire harness connector

(to No. 22 Global CAN Junction Connector)

*b

to Central Gateway ECU (Network Gateway ECU)

Standard Resistance:

Tester Connection

Condition

Specified Condition

O227-8 (CANH) - I26-16 (BAT)

Cable disconnected from negative (-) auxiliary battery terminal

6 kΩ or higher

O227-19 (CANL) - I26-16 (BAT)

OK

REPLACE CENTRAL GATEWAY ECU (NETWORK GATEWAY ECU)

NG

REPAIR OR REPLACE CAN MAIN BUS LINE OR CONNECTOR (NO. 22 GLOBAL CAN JUNCTION CONNECTOR - CENTRAL GATEWAY ECU (NETWORK GATEWAY ECU))

23.

CHECK FOR SHORT IN CAN BUS LINES (NO. 22 GLOBAL CAN JUNCTION CONNECTOR - CENTRAL GATEWAY ECU (NETWORK GATEWAY ECU))

(a) Disconnect the No. 22 global CAN junction connector.

(b) Measure the resistance according to the value(s) in the table below.

*a

Front view of wire harness connector

(to No. 22 Global CAN Junction Connector)

*b

to Central Gateway ECU (Network Gateway ECU)

Standard Resistance:

Tester Connection

Condition

Specified Condition

O227-8 (CANH) - O227-19 (CANL)

Cable disconnected from negative (-) auxiliary battery terminal

108 to 132 Ω

NG

GO TO STEP 31

OK

24.

CHECK FOR SHORT IN CAN BUS LINES (NO. 22 GLOBAL CAN JUNCTION CONNECTOR - CENTRAL GATEWAY ECU (NETWORK GATEWAY ECU))

(a) Measure the resistance according to the value(s) in the table below.

*a

Front view of wire harness connector

(to No. 22 Global CAN Junction Connector)

*b

to Central Gateway ECU (Network Gateway ECU)

Standard Resistance:

Tester Connection

Condition

Specified Condition

O227-9 (CANH) - O227-20 (CANL)

Cable disconnected from negative (-) auxiliary battery terminal

108 to 132 Ω

NG

GO TO STEP 30

OK

25.

CHECK VEHICLE TYPE

(a) Check vehicle type.

Result

Proceed to

for AWD

A

for 2WD

B

B

GO TO STEP 27

A

26.

CHECK FOR SHORT IN CAN BUS LINES (NO. 22 GLOBAL CAN JUNCTION CONNECTOR - 4WD ECU ASSEMBLY)

(a) Measure the resistance according to the value(s) in the table below.

*a

Front view of wire harness connector

(to No. 22 Global CAN Junction Connector)

*b

to 4WD ECU Assembly

Standard Resistance:

Tester Connection

Condition

Specified Condition

O227-7 (CANH) - O227-18 (CANL)

Cable disconnected from negative (-) auxiliary battery terminal

200 Ω or higher

NG

GO TO STEP 28

OK

27.

CHECK FOR SHORT IN CAN BUS LINES (NO. 22 GLOBAL CAN JUNCTION CONNECTOR - TIRE PRESSURE WARNING ECU AND RECEIVER)

(a) Measure the resistance according to the value(s) in the table below.

*a

Front view of wire harness connector

(to No. 22 Global CAN Junction Connector)

*b

to Tire Pressure Warning ECU and Receiver

Standard Resistance:

Tester Connection

Condition

Specified Condition

O227-10 (CANH) - O227-21 (CANL)

Cable disconnected from negative (-) auxiliary battery terminal

200 Ω or higher

OK

REPLACE NO. 22 GLOBAL CAN JUNCTION CONNECTOR

NG

GO TO STEP 29

28.

CHECK FOR SHORT IN CAN BUS LINES (NO. 22 GLOBAL CAN JUNCTION CONNECTOR - 4WD ECU ASSEMBLY)

(a) Disconnect the O201 4WD ECU assembly connector.

(b) Measure the resistance according to the value(s) in the table below.

*a

Front view of wire harness connector

(to No. 22 Global CAN Junction Connector)

*b

to 4WD ECU Assembly

Standard Resistance:

Tester Connection

Condition

Specified Condition

O227-7 (CANH) - O227-18 (CANL)

Cable disconnected from negative (-) auxiliary battery terminal

1 MΩ or higher

OK

REPLACE 4WD ECU ASSEMBLY

NG

REPAIR OR REPLACE CAN BRANCH LINES OR CONNECTOR (NO. 22 GLOBAL CAN JUNCTION CONNECTOR - 4WD ECU ASSEMBLY)

29.

CHECK FOR SHORT IN CAN BUS LINES (NO. 22 GLOBAL CAN JUNCTION CONNECTOR - TIRE PRESSURE WARNING ECU AND RECEIVER)

(a) Disconnect the O209*1, O221*2 tire pressure warning ECU and receiver connector.

  • *1: w/ Smart Key System
  • *2: w/o Smart Key System

(b) Measure the resistance according to the value(s) in the table below.

*a

Front view of wire harness connector

(to No. 22 Global CAN Junction Connector)

*b

to Tire Pressure Warning ECU and Receiver

Standard Resistance:

Tester Connection

Condition

Specified Condition

O227-10 (CANH) - O227-21 (CANL)

Cable disconnected from negative (-) auxiliary battery terminal

1 MΩ or higher

OK

REPLACE TIRE PRESSURE WARNING ECU AND RECEIVER

NG

REPAIR OR REPLACE CAN BRANCH LINES OR CONNECTOR (NO. 22 GLOBAL CAN JUNCTION CONNECTOR - TIRE PRESSURE WARNING ECU AND RECEIVER)

30.

CHECK FOR SHORT IN CAN BUS LINES (NO. 22 GLOBAL CAN JUNCTION CONNECTOR - CENTRAL GATEWAY ECU (NETWORK GATEWAY ECU))

(a) Disconnect the I231 central gateway ECU (network gateway ECU) connector.

(b) Measure the resistance according to the value(s) in the table below.

*a

Front view of wire harness connector

(to No. 22 Global CAN Junction Connector)

*b

to Central Gateway ECU (Network Gateway ECU)

Standard Resistance:

Tester Connection

Condition

Specified Condition

O227-9 (CANH) - O227-20 (CANL)

Cable disconnected from negative (-) auxiliary battery terminal

1 MΩ or higher

OK

REPLACE CENTRAL GATEWAY ECU (NETWORK GATEWAY ECU)

NG

REPAIR OR REPLACE CAN MAIN BUS LINES OR CONNECTOR (NO. 22 GLOBAL CAN JUNCTION CONNECTOR - CENTRAL GATEWAY ECU (NETWORK GATEWAY ECU))

31.

CHECK FOR SHORT IN CAN BUS LINES (NO. 22 GLOBAL CAN JUNCTION CONNECTOR - CENTRAL GATEWAY ECU (NETWORK GATEWAY ECU))

(a) Disconnect the I231 central gateway ECU (network gateway ECU) connector.

(b) Measure the resistance according to the value(s) in the table below.

*a

Front view of wire harness connector

(to No. 22 Global CAN Junction Connector)

*b

to Central Gateway ECU (Network Gateway ECU)

Standard Resistance:

Tester Connection

Condition

Specified Condition

O227-8 (CANH) - O227-19 (CANL)

Cable disconnected from negative (-) auxiliary battery terminal

1 MΩ or higher

OK

REPLACE CENTRAL GATEWAY ECU (NETWORK GATEWAY ECU)

NG

REPAIR OR REPLACE CAN MAIN BUS LINES OR CONNECTOR (NO. 22 GLOBAL CAN JUNCTION CONNECTOR - CENTRAL GATEWAY ECU (NETWORK GATEWAY ECU))

32.

CHECK FOR OPEN IN CAN MAIN BUS LINES (NO. 22 GLOBAL CAN JUNCTION CONNECTOR - CENTRAL GATEWAY ECU (NETWORK GATEWAY ECU))

(a) Disconnect the No. 22 global CAN junction connector.

(b) Measure the resistance according to the value(s) in the table below.

*a

Front view of wire harness connector

(to No. 22 Global CAN Junction Connector)

*b

to Central Gateway ECU (Network Gateway ECU)

Standard Resistance:

Tester Connection

Condition

Specified Condition

O227-8 (CANH) - O227-19 (CANL)

Cable disconnected from negative (-) auxiliary battery terminal

108 to 132 Ω

NG

GO TO STEP 35

OK

33.

CHECK FOR OPEN IN CAN MAIN BUS LINES (NO. 22 GLOBAL CAN JUNCTION CONNECTOR - CENTRAL GATEWAY ECU (NETWORK GATEWAY ECU))

(a) Measure the resistance according to the value(s) in the table below.

*a

Front view of wire harness connector

(to No. 22 Global CAN Junction Connector)

*b

to Central Gateway ECU (Network Gateway ECU)

Standard Resistance:

Tester Connection

Condition

Specified Condition

O227-9 (CANH) - O227-20 (CANL)

Cable disconnected from negative (-) auxiliary battery terminal

108 to 132 Ω

OK

REPLACE NO. 6 GLOBAL CAN JUNCTION CONNECTOR

NG

34.

CHECK FOR OPEN IN CAN MAIN BUS LINES (NO. 22 GLOBAL CAN JUNCTION CONNECTOR - CENTRAL GATEWAY ECU (NETWORK GATEWAY ECU))

(a) Disconnect the central gateway ECU (network gateway ECU) connector.

(b) Measure the resistance according to the value(s) in the table below.

*a

Front view of wire harness connector

(to Central Gateway ECU (Network Gateway ECU))

*b

to No. 22 Global CAN Junction Connector

Standard Resistance:

Tester Connection

Condition

Specified Condition

O227-9 (CANH) - I231-10 (CAVH)

Cable disconnected from negative (-) auxiliary battery terminal

Below 1 Ω

O227-20 (CANL) - I231-11 (CAVL)

OK

REPLACE CENTRAL GATEWAY ECU (NETWORK GATEWAY ECU)

NG

REPAIR OR REPLACE CAN MAIN BUS LINES OR CONNECTOR (NO. 22 GLOBAL CAN JUNCTION CONNECTOR - CENTRAL GATEWAY ECU (NETWORK GATEWAY ECU))

35.

CHECK FOR OPEN IN CAN MAIN BUS LINES (NO. 22 GLOBAL CAN JUNCTION CONNECTOR - CENTRAL GATEWAY ECU (NETWORK GATEWAY ECU))

(a) Disconnect the central gateway ECU (network gateway ECU) connector.

(b) Measure the resistance according to the value(s) in the table below.

*a

Front view of wire harness connector

(to Central Gateway ECU (Network Gateway ECU))

*b

to No. 22 Global CAN Junction Connector

Standard Resistance:

Tester Connection

Condition

Specified Condition

O227-8 (CANH) - I231-10 (CAVH)

Cable disconnected from negative (-) auxiliary battery terminal

Below 1 Ω

O227-19 (CANL) - I231-11 (CAVL)

OK

REPLACE CENTRAL GATEWAY ECU (NETWORK GATEWAY ECU)

NG

REPAIR OR REPLACE CAN MAIN BUS LINES OR CONNECTOR (NO. 22 GLOBAL CAN JUNCTION CONNECTOR - CENTRAL GATEWAY ECU (NETWORK GATEWAY ECU))

    READ NEXT:

     Check Bus 7 Line

    DESCRIPTION Symptom Trouble Area There are ECUs or sensors that display a communication stop on the bus diagnostic screen. Or, there are ECUs or sensors tha

     Can Communication System (for Hev Model)

     Precaution

    PRECAUTION PRECAUTION WHEN REPLACING CENTRAL GATEWAY ECU (NETWORK GATEWAY ECU) (a) When the central gateway ECU (network gateway ECU) is replaced, update the ECU security key. Click here PRECA

    SEE MORE:

     Extreme Hybrid/EV Battery Charging Current (P31B400)

    DESCRIPTION The battery ECU assembly monitors its internal operation, it will set DTCs and perform fail-safe control when it detects the following malfunction. DTC No. Detection Item DTC Detection Condition Trouble Area MIL Warning Indicate Note P31B400 Extr

     Customize Parameters

    CUSTOMIZE PARAMETERS CUSTOMIZE AIR CONDITIONING SYSTEM (a) Customizing with the GTS. NOTICE: When the customer requests a change in a function, first make sure that the function can be customized. Be sure to make a note of the current settings before customizing. When troubleshootin

    © 2020-2025 Copyright www.tcorollacross.com PT NL