Toyota Corolla Cross Owners & Service Manuals

Toyota Corolla Cross: Adjustment

ADJUSTMENT

CAUTION / NOTICE / HINT

The necessary procedures (adjustment, calibration, initialization, or registration) that must be performed after completing the front wheel alignment procedure are shown below.

Necessary Procedures After Procedure Performed

Replaced Part or Performed Procedure

Necessary Procedure

Effect/Inoperative Function when Necessary Procedure not Performed

Link

Front wheel alignment adjustment

for HEV Model:
  1. Perform "Reset Memory"
  2. Perform "Calibration"
  • DTCs are stored
  • ABS warning light illuminates
  • Brake system warning light (yellow indicator) illuminates
  • Slip indicator light illuminates
  • Electronically controlled brake system does not operate correctly

for Gasoline Model:
  1. Perform "Reset Memory"
  2. Perform "Calibration"
  • DTCs are stored
  • ABS warning light illuminates
  • Slip indicator light illuminates
  • Electronically controlled brake system does not operate correctly

for Gasoline Model AWD:
  • Perform "Reset Memory"

Dynamic torque control AWD system

PROCEDURE

1. INSPECT TIRES

Click here

2. MEASURE VEHICLE HEIGHT

NOTICE:

  • Before inspecting the wheel alignment, first inspect the vehicle height.
  • Be sure to perform measurement on a level surface.
  • If it is necessary to go under the vehicle for measurement, confirm that the parking brake is applied and the vehicle is secured with chocks.
  • Inspect while the vehicle is unloaded.
  • The standard value shown here is a value that is used for performing a wheel alignment and does not indicate the height of an actual vehicle.

(a) for 2WD:

(1) Bounce the vehicle up and down at the corners to stabilize the suspension.

(2) Measure the vehicle height.

Measurement Points:
  • A: Ground clearance of front wheel center
  • B: Ground clearance of front lower No. 1 suspension arm bushing set bolt center
  • C: Ground clearance of rear wheel center
  • D: Ground clearance of rear axle beam bushing set bolt center

Vehicle Height (Unloaded Vehicle):

Front A - B

Rear C - D

90 mm (3.54 in.)

1 mm (0.0394 in.)

(b) for AWD:

(1) Bounce the vehicle up and down at the corners to stabilize the suspension.

(2) Measure the vehicle height.

Measurement Points:
  • A: Ground clearance of front wheel center
  • B: Ground clearance of front lower No. 1 suspension arm bushing set bolt center
  • C: Ground clearance of rear wheel center
  • D: Ground clearance of rear No. 2 suspension arm assembly set bolt center

Vehicle Height (Unloaded Vehicle):

Model

Front A - B

Rear C - D

MXGA15L-AHXNHA

90 mm (3.54 in.)

23 mm (0.91 in.)

MXGA15L-AHXGHA

MXGA15L-AHXEHA

MXGH15L-AHXGBA

91 mm (3.58 in.)

28 mm (1.10 in.)

MXGH15L-AHXEBA

MXGH15L-AHXQBA

92 mm (3.62 in.)

30 mm (1.18 in.)

MXGH15L-AHXSBA

MXGH15L-AHXWBA

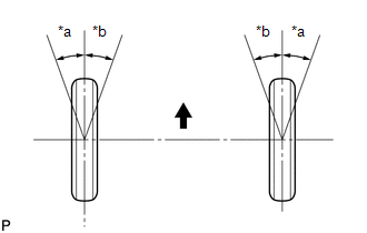
3. INSPECT CAMBER, CASTER AND STEERING AXIS INCLINATION

NOTICE:

Inspect while the vehicle is unloaded.

(a) Install a camber-caster-kingpin gauge and place the front wheels on the center of a turning radius gauge.

*a

Turning Radius Gauge

*b

Camber-caster-kingpin Gauge

(b) Inspect the camber, caster and steering axis inclination.

Camber (Unloaded Vehicle):

Model

Camber Inclination

Right-left Difference

MXGA10L-AHXNHA

0°09' +/- 0°45' (0.15° +/- 0.75°)

0°45' (0.75°) or less

MXGA10L-AHXGHA

MXGA10L-AHXEHA

MXGA15L-AHXNHA

MXGA15L-AHXGHA

MXGA15L-AHXEHA

MXGH15L-AHXGBA

0°08' +/- 0°45' (0.13° +/- 0.75°)

0°45' (0.75°) or less

MXGH15L-AHXEBA

MXGH15L-AHXQBA

0°07' +/- 0°45' (0.12° +/- 0.75°)

0°45' (0.75°) or less

MXGH15L-AHXSBA

MXGH15L-AHXWBA

Caster (Unloaded Vehicle):

Model

Tire Size

Camber Inclination

Right-left Difference

MXGA10L-AHXNHA

215/65R17

225/55R18

6°14' +/- 0°45' (6.23° +/- 0.75°)

0°45' (0.75°) or less

MXGA10L-AHXGHA

MXGA10L-AHXEHA

MXGA15L-AHXNHA

215/65R17

225/55R18

6°12' +/- 0°45' (6.20° +/- 0.75°)

0°45' (0.75°) or less

MXGA15L-AHXGHA

MXGA15L-AHXEHA

MXGH15L-AHXGBA

215/65R17

225/55R18

6°33' +/- 0°45' (6.55° +/- 0.75°)

0°45' (0.75°) or less

MXGH15L-AHXEBA

MXGH15L-AHXGBA

225/50RF18

6°34' +/- 0°45' (6.57° +/- 0.75°)

0°45' (0.75°) or less

MXGH15L-AHXQBA

215/65R17

225/55R18

6°35' +/- 0°45' (6.58° +/- 0.75°)

0°45' (0.75°) or less

MXGH15L-AHXSBA

MXGH15L-AHXWBA

Steering Axis Inclination (Unloaded Vehicle):

Model

Steering Axis Inclination Reference

MXGA10L-AHXNHA

13°35' (13.58°)

MXGA10L-AHXGHA

MXGA10L-AHXEHA

MXGA15L-AHXNHA

MXGA15L-AHXGHA

MXGA15L-AHXEHA

MXGH15L-AHXGBA

13°37' (13.62°)

MXGH15L-AHXEBA

MXGH15L-AHXQBA

13°39' (13.65°)

MXGH15L-AHXSBA

MXGH15L-AHXWBA

4. ADJUST CAMBER

NOTICE:

Inspect toe-in after the camber has been adjusted.

(a) Remove the front wheel.

Click here

(b) Remove the 2 nuts on the lower side of the front shock absorber assembly.

NOTICE:

Keep the bolts inserted.

(c) Remove the top and bottom bolts one at a time and confirm that the steering knuckle can move freely in the front shock absorber assembly.

HINT:

  • Reinstall each bolt after removing it and confirming steering knuckle movement.
  • If the steering knuckle does not move freely in the front shock absorber assembly, clean the contact surfaces of the front shock absorber assembly and the steering knuckle.

(d) Temporarily install the 2 nuts. (Step A)

(e) Fully push or pull the front axle hub in the direction of the required adjustment. (Step B)

(f) Tighten the 2 nuts.

Torque:

270 N·m {2753 kgf·cm, 199 ft·lbf}

NOTICE:

Keep the bolts from rotating when tightening the nuts.

(g) Install the front wheel.

Click here

(h) Bounce the vehicle up and down at the corners to stabilize the suspension.

(i) Check the camber.

Camber (Unloaded Vehicle):

Model

Camber Inclination

Right-left Difference

MXGA10L-AHXNHA

0°09' +/- 0°45' (0.15° +/- 0.75°)

0°45' (0.75°) or less

MXGA10L-AHXGHA

MXGA10L-AHXEHA

MXGA15L-AHXNHA

MXGA15L-AHXGHA

MXGA15L-AHXEHA

MXGH15L-AHXGBA

0°08' +/- 0°45' (0.13° +/- 0.75°)

0°45' (0.75°) or less

MXGH15L-AHXEBA

MXGH15L-AHXQBA

0°07' +/- 0°45' (0.12° +/- 0.75°)

0°45' (0.75°) or less

MXGH15L-AHXSBA

MXGH15L-AHXWBA

(1) If the measured value is not within the specification, calculate the required adjustment amount using the formula below.

Camber adjustment amount = center of the specified range - measured value

Check the combination of the installed bolts. Select appropriate bolts from the tables below to adjust the camber to the specified values.

HINT:

Try to adjust the camber to the center of the specified values.

To move the axle hub toward (+) in step B

To move the axle hub toward (-) in step B

Refer to table (1) (To move the axle hub toward the positive side)

Refer to table (2) (To move the axle hub toward the negative side)

The vehicle body and suspension may be damaged if the camber cannot be correctly adjusted according to the table above.

NOTICE:

Replace the nut with a new one when replacing the bolt.

(2) Table (1) (To move the axle hub toward the positive side)

*A

Table (1) (To move the axle hub toward the positive side)

*B

Selected Bolt Combination

*a

Installed Bolt

*b

Adjusting Value

*c

Standard Bolt

*d

90105-17013

*e

90105-17014

*f

90105-17015

(3) Table (2) (To move the axle hub toward the negative side)

*A

Table (2) (To move the axle hub toward the negative side)

*B

Selected Bolt Combination

*a

Installed Bolt

*b

Adjusting Value

*c

Standard Bolt

*d

90105-17013

*e

90105-17014

*f

90105-17015

(j) If the camber was out of adjustment in the previous step, perform the adjust camber steps mentioned above. In step A, replace the existing bolts with the selected bolts.

HINT:

Replace one bolt at a time when replacing both bolts.

5. INSPECT TOE-IN

NOTICE:

Inspect while the vehicle is unloaded.

(a) Bounce the vehicle up and down at the corners to stabilize the suspension.

(b) Release the parking brake and move the shift lever to N.

(c) Push the vehicle straight ahead approximately 5 m (16.4 ft.). (Step C)

(d) Put tread center marks on the rearmost points of the front wheels and measure the distance between the marks (dimension B).

*a

Tread Center Mark

*b

Dimension B

Front of the Vehicle

(e) Slowly push the vehicle straight ahead to cause the front wheels to rotate 180°. Use the front tire valve as a reference point.

HINT:

Do not allow the wheels to rotate more than 180°. If the wheels rotate more than 180°, perform the procedure from step C again.

(f) Measure the distance between the tread center marks on the front of the wheels (dimension A).

*a

Dimension A

Front of the Vehicle

Toe-in (Unloaded Vehicle):

Model

Tire Size

Specified Condition

MXGA10L-AHXNHA

215/65R17

225/55R18

C + D: 0°12' +/- 0°10' (0.20° +/- 0.16°)

B - A: 2.3 +/- 2.0 mm (0.0906 +/- 0.0787 in.)

MXGA10L-AHXGHA

MXGA10L-AHXEHA

MXGA15L-AHXNHA

MXGA15L-AHXGHA

MXGA15L-AHXEHA

MXGH15L-AHXGBA

215/65R17

225/55R18

C + D: 0°11' +/- 0°10' (0.18° +/- 0.16°)

B - A: 2.1 +/- 2.0 mm (0.0827 +/- 0.0787 in.)

MXGH15L-AHXEBA

MXGH15L-AHXGBA

225/50RF18

C + D: 0°11' +/- 0°10' (0.18° +/- 0.16°)

B - A: 2.0 +/- 2.0 mm (0.0787 +/- 0.0787 in.)

MXGH15L-AHXQBA

215/65R17

225/55R18

C + D: 0°10' +/- 0°10' (0.16° +/- 0.16°)

B - A: 1.9 +/- 2.0 mm (0.0748 +/- 0.0787 in.)

MXGH15L-AHXSBA

MXGH15L-AHXWBA

HINT:

Measure "B - A" only when "C + D" cannot be measured.

(g) If the toe-in is not within the specified range, adjust it at the steering rack ends.

6. ADJUST TOE-IN

(a) Separate the steering rack boot clips from the steering rack boot.

(b) Loosen the tie rod end sub-assembly lock nuts.

(c) Turn the right and left steering rack ends by an equal amount to adjust the toe-in.

Front of the Vehicle

HINT:

  • If the toe-in measurement is more than the specified range, shorten the left and right steering rack ends until the measurement is within the specified range.
  • If the toe-in measurement is less than the specified range, extend the left and right steering rack ends until the measurement is within the specified range.

(d) Measure the toe-in.

Toe-in (Unloaded Vehicle):

Model

Tire Size

Specified Condition

MXGA10L-AHXNHA

215/65R17

225/55R18

C + D: 0°12' +/- 0°10' (0.20° +/- 0.16°)

B - A: 2.3 +/- 2.0 mm (0.0906 +/- 0.0787 in.)

MXGA10L-AHXGHA

MXGA10L-AHXEHA

MXGA15L-AHXNHA

MXGA15L-AHXGHA

MXGA15L-AHXEHA

MXGH15L-AHXGBA

215/65R17

225/55R18

C + D: 0°11' +/- 0°10' (0.18° +/- 0.16°)

B - A: 2.1 +/- 2.0 mm (0.0827 +/- 0.0787 in.)

MXGH15L-AHXEBA

MXGH15L-AHXGBA

225/50RF18

C + D: 0°11' +/- 0°10' (0.18° +/- 0.16°)

B - A: 2.0 +/- 2.0 mm (0.0787 +/- 0.0787 in.)

MXGH15L-AHXQBA

215/65R17

225/55R18

C + D: 0°10' +/- 0°10' (0.16° +/- 0.16°)

B - A: 1.9 +/- 2.0 mm (0.0748 +/- 0.0787 in.)

MXGH15L-AHXSBA

MXGH15L-AHXWBA

HINT:

Perform adjustments so that the value is as close as possible to the median of the specified range.

(e) Tighten the tie rod end sub-assembly lock nuts.

(1) for LH side:

Click here

(2) for RH side:

HINT:

Perform the same procedure as for the LH side.

(f) Place the steering rack boots on the seats and install the steering rack boot clips.

(1) for LH side:

Click here

(2) for RH side:

HINT:

Perform the same procedure as for the LH side.

7. INSPECT WHEEL ANGLE

(a) Put tread center marks on the rearmost points of a turning radius gauge.

*a

Inside

*b

Outside

Front of the Vehicle

(b) Turn the steering wheel fully to the left and right and measure the turning angle.

NOTICE:

Inspect while the vehicle is unloaded.

Wheel Turning Angle:

Model

Inside Wheel

Outside Wheel

MXGA10L-AHXNHA

37°08' +/- 2°00' (37.13° +/- 2.00°)

32°28' (32.47°)

MXGA10L-AHXGHA

MXGA10L-AHXEHA

MXGA15L-AHXNHA

37°07' +/- 2°00' (37.12° +/- 2.00°)

32°27' (32.45°)

MXGA15L-AHXGHA

MXGA15L-AHXEHA

MXGH15L-AHXGBA

37°06' +/- 2°00' (37.10° +/- 2.00°)

32°25' (32.42°)

MXGH15L-AHXEBA

MXGH15L-AHXQBA

37°05' +/- 2°00' (37.08° +/- 2.00°)

32°24' (32.40°)

MXGH15L-AHXSBA

MXGH15L-AHXWBA

(c) If the right and left inside wheel angles differ from the specified value, check and adjust the right and left steering rack end lengths.

8. ALIGN FRONT WHEELS FACING STRAIGHT AHEAD

Click here

9. PERFORM CALIBRATION

  • for HEV Model:

    Click here

  • for Gasoline Model:

    Click here

10. PERFORM RESET MEMORY (for Gasoline Model AWD)

Click here

    READ NEXT:

     Rear Wheel Alignment (for 2wd)

    Inspection INSPECTION CAUTION / NOTICE / HINT The necessary procedures (adjustment, calibration, initialization, or registration) that must be performed after completing the front wheel alignme

     Rear Wheel Alignment (for Awd)

     Adjustment

    ADJUSTMENT CAUTION / NOTICE / HINT The necessary procedures (adjustment, calibration, initialization, or registration) that must be performed after completing the rear wheel alignment procedure ar

    SEE MORE:

     Lost Communication with ECM/PCM "A" Missing Message (U010087,...,U117087)

    DESCRIPTION The electric brake booster (brake booster with master cylinder assembly) communicates with the following ECUs and sensors via CAN communication. ECM Hybrid vehicle control ECU Inverter with converter assembly Certification ECU (smart key ECU assembly) Skid control ECU

     Drive Motor "B" Position Sensor Circuit "A" Circuit Voltage Below Threshold (P0C5516,P0C5517,P0C5F16,P0C5F17)

    DTC SUMMARY MALFUNCTION DESCRIPTION These DTCs indicate that the resolver output signal is abnormal. The cause of this malfunction may be one of the following: Internal inverter malfunction Inverter with converter assembly internal circuit malfunction Inverter low-voltage circuit malfunct

    © 2020-2026 Copyright www.tcorollacross.com PT NL