Toyota Corolla Cross Owners & Service Manuals

Toyota Corolla Cross: Second Row Left Side Airbag Deployment Control Circuit Open (B003013)

Toyota Corolla Cross (2022-2026) Service Manual / Vehicle Interior / Supplemental Restraint Systems / Airbag System / Second Row Left Side Airbag Deployment Control Circuit Open (B003013)

DESCRIPTION

DTC No.

Detection Item

DTC Detection Condition

Trouble Area

Warning Indicate

Test Mode / Check Mode

B003013

Second Row Left Side Airbag Deployment Control Circuit Open

One of the following conditions is met:

  • The airbag ECU assembly detects an open in the rear side squib LH circuit for 2 seconds.
  • Rear side squib LH (rear seat airbag assembly LH) malfunction
  • Airbag ECU assembly malfunction
  • Harness or connector
  • Rear side squib LH (Rear seat airbag assembly LH)
  • Airbag ECU assembly

Comes on

Applies to check mode

DTC Detection Conditions:
 

Vehicle Condition

Pattern 1

Pattern 2

Pattern 3

Diagnosis Condition

Ignition switch ON

Malfunction Status

The airbag ECU assembly detects an open in the rear side squib LH circuit

-

-

Rear side squib LH (rear seat airbag assembly LH) malfunction

-

-

Airbag ECU assembly malfunction

-

-

Detection Time

2 seconds

2 seconds

2 seconds

Number of Trips

1 trip

1 trip

1 trip

HINT:

DTC will be output when conditions for either of the patterns in the table above are met.

WIRING DIAGRAM

CAUTION / NOTICE / HINT

NOTICE:

After the ignition switch is turned off, there may be a waiting time before disconnecting the negative (-) battery terminal.

Click here

HINT:

  • When disconnecting and reconnecting the battery, there is an automatic learning function that completes learning when the respective system is used.

    Click here

  • To perform the simulation method, select Check Mode with the GTS.

    Click here

  • Perform the simulation method while checking the Data List.

    Click here

PROCEDURE

1.

CHECK CURRENT DTC

(a) Turn the ignition switch to ON, and wait for at least 60 seconds.

(b) Check for DTCs.

Body Electrical > SRS Airbag > Trouble Codes

Result

Proceed to

Current B003013 is output

A

Current B003013 is not output

B

B

USE SIMULATION METHOD TO CHECK

Click here

HINT:

  • Perform the simulation method by selecting Check Mode using the GTS.

    Click here

  • Perform the simulation method while checking the Data List.

    Click here

A

2.

CHECK CONNECTION OF CONNECTORS

(a) Turn the ignition switch off.

(b) Disconnect the cable from the negative (-) battery terminal.

CAUTION:

Wait at least 60 seconds after disconnecting the cable from the negative (-) battery terminal to disable the SRS system.

(c) Check that the connectors are properly connected to the rear seat airbag assembly LH and airbag ECU assembly.

OK:

The connectors are properly connected.

NG

CONNECT CONNECTORS PROPERLY

OK

3.

CHECK CONNECTORS

(a) Disconnect the connectors from the rear seat airbag assembly LH and airbag ECU assembly.

(b) Check that the terminals of the connectors are not deformed or damaged.

OK:

The terminals of the connectors are not deformed or damaged.

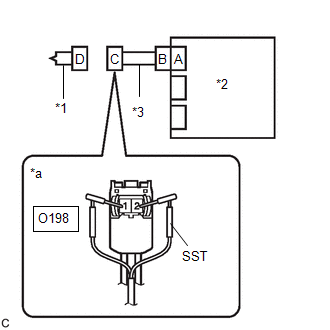
*1

Rear Seat Airbag Assembly LH

*2

Airbag ECU Assembly

*3

Wire Harness

(c) Check that the short springs of the activation prevention mechanism of the wire harness connector are not deformed or damaged.

OK:

The short springs are not deformed or damaged.

NG

REPAIR OR REPLACE HARNESS OR CONNECTOR

OK

4.

CLEAR DTC

(a) Connect the connector to the airbag ECU assembly.

*1

Rear Seat Airbag Assembly LH

*2

Airbag ECU Assembly

*3

Wire Harness

*a

Front view of wire harness connector

(to Rear Seat Airbag Assembly LH)

(b) Connect the red wire side of SST (resistance 2.1 Ω) to connector C.

CAUTION:

Never connect a tester to the rear seat airbag assembly LH for measurement, as this may lead to a serious injury due to airbag deployment.

NOTICE:

  • Do not forcibly insert SST into the terminals of the connector when connecting it.
  • Insert SST straight into the terminals of the connector.

SST: 09843-18061

(c) Connect the cable to the negative (-) battery terminal.

(d) Turn the ignition switch to ON, and wait for at least 60 seconds.

(e) Clear the DTCs stored in memory.

Body Electrical > SRS Airbag > Clear DTCs

(f) Turn the ignition switch off.

NEXT

5.

CHECK REAR SEAT AIRBAG ASSEMBLY LH

(a) Turn the ignition switch to ON, and wait for at least 60 seconds.

(b) Check for DTCs.

Body Electrical > SRS Airbag > Trouble Codes

Result

Proceed to

B003013 is not output

A

B003013 is output

B

HINT:

Codes other than DTC B003013 may be output at this time, but they are not related to this check.

(c) Turn the ignition switch off.

(d) Disconnect the cable from the negative (-) battery terminal.

CAUTION:

Wait at least 60 seconds after disconnecting the cable from the negative (-) battery terminal to disable the SRS system.

(e) Disconnect SST from connector C.

A

REPLACE REAR SEAT AIRBAG ASSEMBLY LH

B

6.

CHECK HARNESS AND CONNECTOR

(a) Disconnect the connector from the airbag ECU assembly.

(b) Check for an open in the circuit.

(1) Measure the resistance according to the value(s) in the table below.

Standard Resistance:

Tester Connection

Condition

Specified Condition

O198-1 (SRL+) - O198-2 (SRL-)

Always

Below 1 Ω

*1

Rear Seat Airbag Assembly LH

*2

Airbag ECU Assembly

*3

Wire Harness

*a

Front view of wire harness connector

(to Rear Seat Airbag Assembly LH)

NG

REPAIR OR REPLACE HARNESS OR CONNECTOR

OK

7.

CLEAR DTC

(a) Connect the connectors to the rear seat airbag assembly LH and airbag ECU assembly.

*1

Rear Seat Airbag Assembly LH

*2

Airbag ECU Assembly

(b) Connect the cable to the negative (-) battery terminal.

(c) Turn the ignition switch to ON, and wait for at least 60 seconds.

(d) Clear the DTCs stored in memory.

Body Electrical > SRS Airbag > Clear DTCs

(e) Turn the ignition switch off.

NEXT

8.

CHECK DTC

(a) Turn the ignition switch to ON, and wait for at least 60 seconds.

(b) Check for DTCs.

Body Electrical > SRS Airbag > Trouble Codes

Result

Proceed to

B003013 is not output

A

B003013 is output

B

HINT:

Codes other than DTC B003013 may be output at this time, but they are not related to this check.

A

USE SIMULATION METHOD TO CHECK

Click here

HINT:

  • Perform the simulation method by selecting Check Mode using the GTS.

    Click here

  • Perform the simulation method while checking the Data List.

    Click here

B

REPLACE AIRBAG ECU ASSEMBLY

    READ NEXT:

     Second Row Left Side Airbag Deployment Control Circuit Resistance Below Threshold (B00301A)

    DESCRIPTION DTC No. Detection Item DTC Detection Condition Trouble Area Warning Indicate Test Mode / Check Mode B00301A Second Row Left Side Airbag Deployment Control C

     Second Row Right Side Airbag Deployment Control Circuit Short to Ground (B003811)

    DESCRIPTION DTC No. Detection Item DTC Detection Condition Trouble Area Warning Indicate Test Mode / Check Mode B003811 Second Row Right Side Airbag Deployment Control

     Second Row Right Side Airbag Deployment Control Circuit Short to Battery (B003812)

    DESCRIPTION DTC No. Detection Item DTC Detection Condition Trouble Area Warning Indicate Test Mode / Check Mode B003812 Second Row Right Side Airbag Deployment Control

    SEE MORE:

     Low Beam LH Circuit Voltage Out of Range (B24441C,B24451C)

    DESCRIPTION The BIN resistance is equipped for the purpose of correcting variances in brightness (luminous flux) when the headlight ECU sub-assembly is energizing the LED with a constant current to illuminate it. Also, it monitors the voltage applied to the BIN resistance in order to detect abnorma

     HD-RADIO Tuner Component Internal Failure (B155196,B158D87,B15A096,B15AD96,B15B396,B15B796,B15BA96)

    DESCRIPTION These DTCs are stored when a malfunction occurs in the radio and display receiver assembly. DTC No. Detection Item DTC Detection Condition Trouble Area DTC Output from Priority B155196 HD-RA

    © 2020-2026 Copyright www.tcorollacross.com PT NL